Отзывы о Venezia Skyline 5010402 от реальных покупателей
Отзывы не найдены
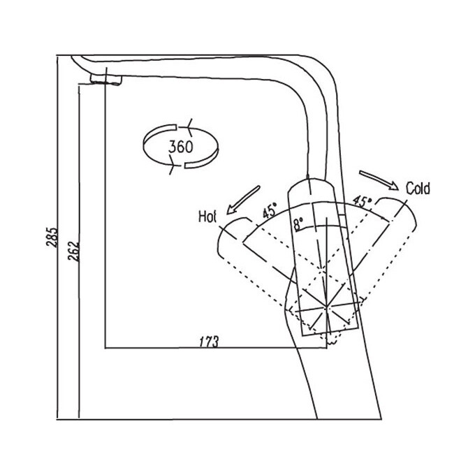
Характеристики
- Skyline
- белый
- латунь
- однорычажный
- классический

Отзывы не найдены
Очень удобный сайт в целом. Каталог разделён по категориям, легко ориентироваться и подобрать необходимую сантехнику. Доставку исполняют своевременно и отлично консультируют по любому вопросу.
Покупал тут пару раз, всегда потому что цена была хорошая, теперь все по сантехнике ту заказываю, понравилось, что высылают сразу, а не ждут неделю, и можно договориться за бесплатную доставку и скидки. Очень удобно и выгодно.
Компетентний уважний персонал! Без проблем прийняли відмову від замовлення допомогли підібрати інше замовлення! Швидка доставка!
Трошки нервувалася, коли сказали, що для безкоштовної доставки тре зробити передоплату. Але подумала, що не для цього сайти такі роблять, щоб вкрасти мою тисячу. Я його давно же бачила. Все вчасно привезли, і навіть подаруночок зробили. Я так розумію, це замануха, щоб я наступного разу в них ще купувала. Але я не проти, нормальна практика, мені подобається.
Делал заказы тут на протяжении нескольких лет. Менеджеры менялись, а правила хорошего тона по отношению к покупателям - нет. Мне как сразу в первый раз пообещали дополнительную скидку, так она и до сих пор работает. Я уже весь свой подъезд и пол соседнего укомплектовал. Мне все нравится, и соседи благодарны.
Лично меня магазин привлёк хорошей ценой на нужный мне товар и тем, что он действительно является официальным дилером производителя и предоставляет оригинал. Уже нарвались один раз на подделку - повелась на крутую цену, поэтому теперь буду умнее.
Мены сподобалося на цьому сайті, що все для людей. Доставка безкоштовна, знижки тобі зроблять, і самі ціни нормальні. Гідно уваги.
Покупаю для заказчиков, тут дешевле всего и нормально показывается количество на складе. А это важно, когда делаешь большие заказы. В некоторых сайтах вообще не понятно, есть это или нет, лотерея, не узнаешь, пока не закажешь. А они потом перезвонят тебе, и говорят, нажаль немае в наявности, а уже сутки прошли, или больше, а мне обйект сдавать. Вобщем, пусть все будет хорошо у ребят, доволен сотрудничеством.
Много видов сантехники по низким ценам, причем любой ценовой категории. Можно найти что-то подешевле, а можно подороже в соответствии со своим запросом. Товар оригинальный от производителя так как гарантия на товар идет официальная.
Покупал тут много, и для себя, и для клиентов. Могу посоветовать, сотрудники адекватные, цены хорошие.
© 2012 - 2026 Kaplya.com.ua.